Циклон УЦ

Циклон УЦ серия 7.411-1Циклон УЦ выпускается по серии 7.411-1 (конструкция Древпрома). Данный тип пылеулавливающего оборудования разработан специально для предприятий по деревообработке и переработке древесины. Аббревиатура УЦ расшифровывается – универсальный циклон.

Применение: для очистки газо-воздушной смеси образующейся при технологических процессах деревообработки от различной пыли (сухие опилки, стружка), в том числе шлифовальной пыли и мелких опилок. Не применяется для слипающейся и волокнистой пыли.

Циклон УЦ Древпрома: описание и параметры работы

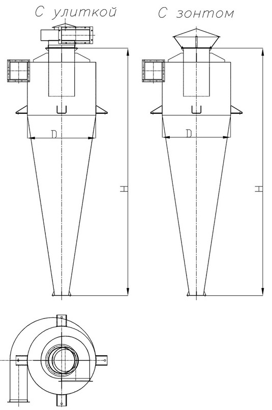
Циклон УЦ чертеж сборочныйВ отличие от своих собратьев типа УЦ-38, модели циклонов УЦ выпускаются по конструкции Древпрома и отличаются увеличенным диаметром корпуса и увеличенной конической частью. Циклоны данного типа выпускаются в климатическом исполнении УХЛ по ГОСТ 15150-69, категория размещения 1, 2, 3, 4.

По вращению потока воздуха в циклоне все модели подразделяются на левое и правое исполнение. У моделей левого исполнения воздух вращается против часовой стрелки, при взгляде со стороны выхлопного патрубка. Правое исполнение подразумевает вращение воздуха по часовой стрелке, соответственно.

Принцип работы циклона заключается в действии центробежной силы, которая развивается при вращательно-поступательном движении воздушно-газового потока.

Удаление частиц пыли от воздушно-газового потока происходит при постоянном вращении воздуха в корпусе циклона. При таком вращении пыль под действием центробежной силой отбрасывается к стенкам и по винтообразной траектории опускается в нижнюю часть циклона, а затем в бункер для сбора пыли. Очищенный от пыли воздух выходит из циклона наружу через выхлопную трубу (выходящий патрубок).

Универсальный циклон УЦ: основные технические характеристики и габаритные размеры

Обозначение
Производительность по воздуху м3 Диаметр, мм Высота, мм Масса, кг
Циклон УЦ-500 790-990 500 2040 52
УЦ-560 960-1210 560 2257 63
УЦ-630 1160-1480 630 2504 71
УЦ-710 1400-1810 710 2608 82
УЦ-800 1760-2290 800 3040 120
УЦ-900 2200-2900 900 3370 169
УЦ-1000 2700-3600 1000 3800 220
УЦ-1100 3230-4350 1100 4220 260
УЦ-1200 3880-5200 1200 4570 291
УЦ-1300 4580-6100 1300 4930 352
УЦ-1400 5240-7000 1400 5290 402
УЦ-1500 6050-8050 1500 5720 448
УЦ-1600 6900-9200 1600 6010 493
УЦ-1800 8700-11600 1800 6880 643
УЦ-2000 10800-14400 2000 7450 747

Пример условного обозначения: УЦ-900-Л, где У – универсальный, Ц – циклон, 900 – калибр (диаметр корпуса, мм), Л (П) – исполнение левое (правое).

Материальное исполнение и качество

Циклон УЦ выполняется из листовой стали марки ст.3. Толщина стенки корпуса 3мм. В зависимости от модели и потребности Заказчика, возможно применение иной марки стали (например, 09Г2С или нержавеющая сталь), иной толщины стенки металла.

В производстве циклонов применяются только новые (не бывшие в употреблении и не лежалые) материалы, качество которых подтверждено сертификатами качества и соответствия требованиям безопасности.

Циклоны и другое пылеулавливающее оборудование производства ЗТО Свердловский прошло декларирование на соответствие требованиям ТР ТС 010/2011 “О безопасности машин и оборудования”. С документами о качестве Вы можете ознакомиться на странице ДОКУМЕНТАЦИЯ.

Как заказать и купить циклон УЦ?

Для заказа универсального циклона УЦ необходимо направить запрос на расчет стоимости в отдел продаж по координатам на странице КОНТАКТЫ. В запросе требуется указать модель (обозначение) циклона, количество, наличие бункера и постамента (указать их размеры), а также приложить реквизиты Вашей организации.

Предлагаем также воспользоваться специальной формой ОТПРАВИТЬ ЗАЯВКУ на сайте. В ответ на Ваш запрос будет направлено предложение (счет) с указанием актуальной цены оборудования и срок изготовления.

Доставка осуществляется во все регионы РФ и страны Таможенного союза ЕАЭС (Армения, Белоруссия, Казахстан, Кыргызстан) транспортными компаниями. Стоимость транспортных расходов рассчитывается дополнительно.