Циклон СК-ЦН-34М

Циклон СК-ЦН-34М модернизированныйЦиклон СК-ЦН-34М является модернизированным аналогом циклона СК-ЦН-34. Благодаря своим модернизированным функциям пылеулавливающий аппарат способен работать с более абразивной пылью и показывать при этом эффективную степень очистки.

Применение: очистка саже-газовой и -воздушной смеси от пыли обладающей высокой абразивностью и слипаемостью.

Модернизированный циклон СК-ЦН-34М: описание и конструктивные особенности

Пылеуловитель СК-ЦН-34М имеет высокую устойчивость к абразивной среде, но при этом потери давления в этом аппарате примерно в 2 раза больше, чем в аналогичных моделях циклонов СДК-ЦН-33, СК-ЦН-34. Коническая конструкция данного циклона позволяет более эффективно улавливать пыль. По направлею вращения потока среды в циклоне выпускаются циклоны СК-ЦН-34М «правого и «левого» вращения. «Правым» называют вращение газового потока в циклоне по часовой стрелки, если смотреть со стороны выхлопной трубы, «левым» — вращение газового потока против часовой стрелки.

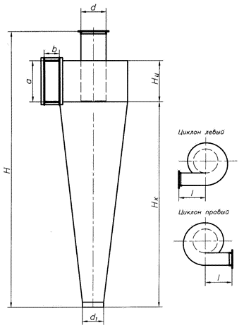
Циклон СК-ЦН-34М чертеж

Материальное исполнение — сталь марки ст.3. По желанию заказчика, возможно применение иных марок стали (например, 09Г2С, нержавеющая сталь) и иной толщины стенки металла.

Основные технические характеристики

Модельный ряд циклонов СК-ЦН-34М представлен широким перечнем пылеулавливающих аппаратов с диаметром корпуса от Ду400мм до Ду3000 мм. Стоит отметить, что производительность циклона напрямую связана с его размерами и диаметром корпуса. Чем больше циклон, тем выше производительность.

Циклон СК-ЦН 34 М: габаритные размеры

Обозначение Производительность по воздуху м3 Диаметр, мм Высота, мм а, мм b, мм Масса, кг
СК-ЦН-34М-400 1100 400 1320 160 72 39
СК-ЦН-34М-500 1800 500 1650 200 90 61
СК-ЦН-34М-600 2500 600 1980 240 108 88
СК-ЦН-34М-700 3500 700 2310 280 126 120
СК-ЦН-34М-800 4500 800 2640 320 144 156
СК-ЦН-34М-900 5700 900 2970 360 162 198
СК-ЦН-34М-1000 7100 1000 3300 400 180 244
СК-ЦН-34М-1200 10200 1200 3960 480 216 352
СК-ЦН-34М-1400 13800 1400 4620 560 252 479
СК-ЦН-34М-1600 18100 1600 5280 640 288 626
СК-ЦН-34М-1800 22900 1800 5940 720 324 792
СК-ЦН-34М-2000 28300 2000 6600 800 360 977
СК-ЦН-34М-2400 40700 2400 7920 960 432 1407
СК-ЦН-34М-3000 63600 3000 9900 1200 540 2199

Пылеулавливающее оборудование прошло проверку качества на соответствие регламенту ТР ТС 010/2011 «О безопасности машин и оборудования». Сертификаты ГОСТ Р и декларации соответствия ТР ТС на продукцию производства ЗТО Свердловский размещены для ознакомления в разделе ДОКУМЕНТАЦИЯ.

Для того, чтобы купить циклон СК-ЦН-34М необходимо отправить заявку с обозначением модели и количеством изделий в отдел продаж по координатам на странице КОНТАКТЫ. Просим прикладывать или указывать реквизиты Вашего предприятия для подготовки ценового предложения.

Дополнительно к циклону можно заказать: постамент, площадка для обслуживания, бункер для сбора пыли, воздуховоды.

Предлагаем также для заказа продукции воспользоваться специальной формой — ОТПРАВИТЬ ЗАЯВКУ на сайте.