Циклон СДК-ЦН-33 являются разновидностью конических циклонов, которые применяются для очистки воздуха и газов от сажевой пыли. Так как конические циклоны имеют большие габаритные размеры, они не применяются в группе, а используются в одиночном исполнении.
Применение: для очистки саже-газовой (воздушной) смеси от пыли, а также аспирации и пневмоуборки производства технического углерода.
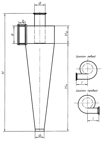
Циклон СДК-ЦН-33: основные конструктивные особенности
Пылеуловитель СДК-ЦН-33 по своей конструкции является коническим. Конические циклоны отличаются длинной конической частью корпуса и спиральным входным патрубком. Благодаря такой конструкции обеспечивается высокая эффективность улавливания пыли.
По типу вращения воздуха относительно выходящего патрубка циклоны СДК-ЦН-33 подразделяются на правосторонние (правое исполнение) и левосторонние (левое исполнение). Пример правого и левого исполнения показан на чертеже общего вида.
Материальное исполнение — сталь марки ст.3. По желанию заказчика, возможно применение иных марок стали (например, 09Г2С, нержавеющая сталь) и иной толщины стенки металла.
По желанию Заказчика к циклонам дополнительно могут изготавливаться: постамент (с площадкой или без площадки для обслуживания), бункер для сбора пыли (пирамидальный или цилиндрический), воздуховоды различного диаметра и длины.
Основные технические характеристики и габаритные размеры
| Обозначение | Производительность по воздуху м3/ч | Диаметр, мм | Высота, мм | а, мм | b, мм | Масса, кг |
| СДК-ЦН-33-400 | 1100 | 400 | 1538 | 214 | 106 | 46 |
| СДК-ЦН-33-500 | 1800 | 500 | 1923 | 267 | 132 | 71 |
| СДК-ЦН-33-600 | 2500 | 600 | 2286 | 321 | 158 | 102 |
| СДК-ЦН-33-700 | 3500 | 700 | 2660 | 375 | 185 | 138 |
| СДК-ЦН-33-800 | 4500 | 800 | 3033 | 428 | 211 | 180 |
| СДК-ЦН-33-900 | 5700 | 900 | 3397 | 482 | 238 | 226 |
| СДК-ЦН-33-1000 | 7100 | 1000 | 3761 | 535 | 264 | 278 |
| СДК-ЦН-33-1200 | 10200 | 1200 | 4488 | 642 | 317 | 399 |
| СДК-ЦН-33-1400 | 13800 | 1400 | 5235 | 749 | 370 | 543 |
| СДК-ЦН-33-1600 | 18100 | 1600 | 5982 | 856 | 422 | 709 |
| СДК-ЦН-33-1800 | 22900 | 1800 | 6731 | 963 | 475 | 897 |
| СДК-ЦН-33-2000 | 28300 | 2000 | 7478 | 1070 | 528 | 1107 |
| СДК-ЦН-33-2400 | 40700 | 2400 | 8972 | 1284 | 634 | 1594 |
| СДК-ЦН-33-3000 | 63600 | 3000 | 11215 | 1605 | 792 | 2490 |
Циклон СДК-ЦН-33 и другое аспирационное оборудование прошло проверку на соответствие качества регламенту ТР ТС 010/2011 «О безопасности машин и оборудования», о чем свидетельствует полученная декларация. Сертификаты и декларации соответствия размещены для ознакомления в разделе ДОКУМЕНТАЦИЯ.
Доставка продукции осуществляется транспортными компаниями во все регионы РФ, а также города стран Таможенного союза (Казахстан, Киргизия, Армения, Белоруссия). Стоимость доставки рассчитывается и оплачивается дополнительно.
Для запроса стоимости необходимо отправить заявку с наименование модели и количеством в отдел продаж по координатам на странице КОНТАКТЫ. Просим прикладывать или указывать реквизиты Вашего предприятия для подготовки ценового предложения. Предлагаем также для заказа продукции воспользоваться специальной формой — ОТПРАВИТЬ ЗАЯВКУ на сайте.