Циклон СЦН-50

Циклон СЦН-50 НИИОГАЗЦиклон СЦН-50 является одной из разновидностью пылеулавливающего оборудования разработанного по конструкции института НИИОГАЗ. Циклон для очистки воздуха типа СЦН-50 имеет схожие с циклонами ЦН-15 и ЦН-11 характеристики и конструкцию, но при этом имеет преимущественно повышенные функциональные особенности и параметры очистки.

Применение: для очистки воздуха и газов на литейных и металлургических производствах, в различных отраслях энергетики, при производстве строительных материалов от абразивной пыли.

Циклон СЦН-50: описание и основные характеристики

Пылеулавливающий аппарат СЦН-50 является более эффективным циклоном по сравнению с другими моделями ЦН, СЦН. Можно выделить следующие основные преимущества: повышенный срок службы, увеличенный коэффициент гидравлического сопротивления, а также тонкость степени очистки.

Степень очистки воздуха от пылей 80-95%
Сопротивление 1000-1200 Па
Коэффициент гидравлического сопротивления 185

Устойчивость циклона СЦН-50 к абразивной рабочей среде обеспечивается специально конструкцией в виде спирального ввода запыленного газа в циклон, а также за счет удлинения цилиндрического элемента корпуса и диаметра выпускного отверстия.

Конструктивно, пылеуловитель СЦН-50 может изготавливаться правого и левого исполнения. Модельный ряд циклонов представлен одиночными и групповыми моделями в различной комплектации: с бункером, без бункера, с улиткой, без улитки.

Материальное исполнение – листовая сталь ст.3. Толщина стенки: корпус – 3мм, бункер – 4мм. Марка стали и толщина стенки может варьироваться по требованию Заказчика.

Циклон СЦН-50 в исполнении с улиткой / без улитки: технические характеристики

Чертеж циклон СЦН-50 с улиткой и без улитки

Обозначение Произв-ть, м3 D H/H1 L H0 a/b a1 d Масса, кг
СЦН-50-300 623-890 300 1325/1055 420 390 75/150 135 80 38
СЦН-50-400 1130-1582 400 1650/1380 530 425 100/200 180 110 64
СЦН-50-500 1760-2473 500 2025/1705 670 490 125/250 225 135 97
СЦН-50-600 2543-3560 600 2450/2030 830 575 150/300 270 160 141
СЦН-50-700 3462-4846 700 2775/2355 950 615 175/350 315 188 187
СЦН-50-800 4522-6330 800 3200/2680 1110 700 200/400 360 215 246
СЦН-50-900 5723-8012 900 3525/3005 1220 740 225/450 405 242 305
СЦН-50-1000 7065-9891 1000 3950/3330 1380 825 250/500 450 269 380
СЦН-50-1200 10174-14243 1200 4700/3980 1650 950 300/600 540 323 543
СЦН-50-1400 13843-19386 1400 5350/4630 1880 1025 350/700 630 376 721
СЦН-50-1600 18086-25320 1600 6100/5280 2160 1110 400/800 720 430 939
СЦН-50-1800 22891-32046 1800 6860/5930 2435 1280 450/900 810 484 1189
СЦН-50-2000 28260-39564 2000 7510/6580 2660 1350 500/1000 900 538 1446
СЦН-50-2200 34195-47872 2200 7810/7230 2935 1480 550/1100 990 590 1654
СЦН-50-2400 40694-56972 2400 8510/7880 3210 1610 600/1200 1080 645 1966
СЦН-50-2600 47759-66863 2600 9660/8530 3435 1680 650/1300 1170 700 2418
СЦН-50-2800 55390-77545 2800 10200/9180 3795 1880 700/1400 1260 755 2749
СЦН-50-3000 63585-89019 3000 10920/9830 4050 2010 750/1500 1350 806 3250

Циклон СЦН-50 в исполнении с бункером: габаритные размеры и технические характеристики

Чертеж циклон СЦН-50 с бункером

Обозначение Произв-ть, м3 D H/H1 В/В2 d L H2 Объем, м3 Масса, кг
СЦН-50-300х1 623-890 300 1325/1055 360 200 390 600 0,11 103
СЦН-50-400х1 1130-1582 400 1650/1380 480 200 480 800 0,21 64
СЦН-50-500х1 1760-2473 500 2025/1705 600 200 600 1000 0,35 97
СЦН-50-600х1 2543-3560 600 2450/2030 720 200 720 1200 0,54 141
СЦН-50-700х1 3462-4846 700 2775/2355 840 200 840 1400 0,78 187
СЦН-50-800х1 4522-6330 800 3200/2680 960 200 960 1600 1,08 246
СЦН-50-900х1 5723-8012 900 3525/3005 1080 200 1080 1800 1,44 305
СЦН-50-1000х1 7065-9891 1000 3950/3330 1200 200 1200 2000 1,87 380
СЦН-50-1200х1 10174-14243 1200 4700/3980 1440 200 1440 2400 2,96 543
СЦН-50-1400х1 13843-19386 1400 5350/4630 1680 200 1680 2800 4,40 721
СЦН-50-1600х1 18086-25320 1600 6100/5280 1920 200 1920 3200 6,23 939
СЦН-50-1800х1 22891-32046 1800 6860/5930 2160 200 2160 3600 8,50 1189
СЦН-50-2000х1 28260-39564 2000 7510/6580 2400 200 2400 4000 11,25 1446
СЦН-50-2200х1 34195-47872 2200 7810/7230 2640 200 2640 4400 14,54 1654
СЦН-50-2400х1 40694-56972 2400 8510/7880 2880 200 2880 4800 18,40 1966
СЦН-50-2600х1 47759-66863 2600 9660/8530 3120 200 3120 5200 22,89 2418
СЦН-50-2800х1 55390-77545 2800 10200/9180 3360 200 3360 5600 28,05 2749
СЦН-50-3000х1 63585-89019 3000 10920/9830 3600 200 3600 6000 33,92 3250

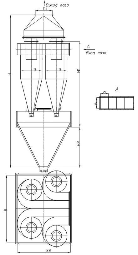
Групповой циклон СЦН-50 (группа из двух циклонов) с бункером: технические характеристики

Чертеж циклон СЦН-50 с бункером

Обозначения Произв-ть, м3 D H/H1 H2 B B2 d Объем, м3 Масса, кг
СЦН-50-400х2 2260-3164 400 3170/1830 870 1100 1100 200 1,03 322
СЦН-50-500х2 3520-4946 500 3810/2155 1080 1300 1300 200 1,56 464
СЦН-50-600х2 5086-7120 600 4230/2480 1080 1300 1300 200 4,56 530
СЦН-50-700х2 6924-9692 700 4980/2810 1400 1600 1600 200 2,64 779
СЦН-50-800х2 9044-12660 800 5400/3130 1400 1600 1600 200 2,64 871
СЦН-50-900х2 11446-16024 900 6430/3455 2000 2100 2100 200 5,45 1350
СЦН-50-1000х2 14130-19782 1000 6850/3780 2000 2100 2100 200 5,45 1468
СЦН-50-1200х2 20348-28486 1200 7500/4430 2000 2400 2400 200 7,07 1741

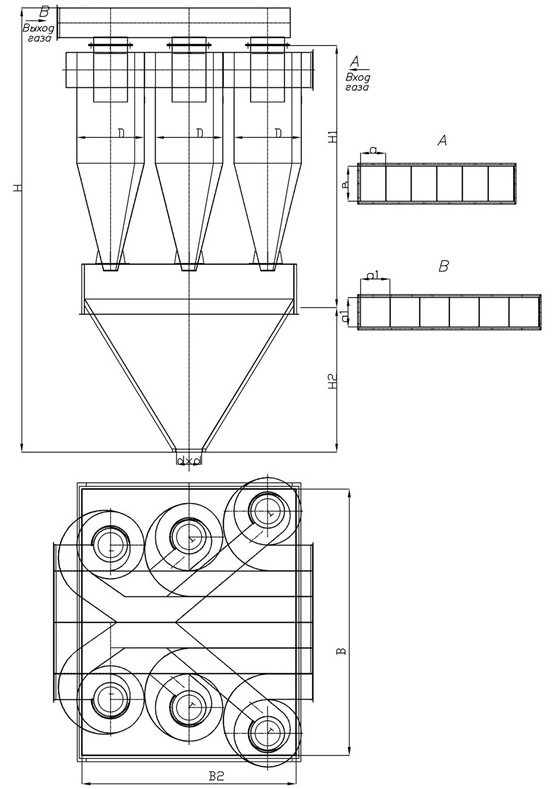
Циклон групповой СЦН-50 (группа из 4-х циклонов): габаритные размеры и технические характеристики

Чертеж - циклон СЦН-50х4 групповой

Обозначение Произв-ть, м3 D H/H1 H2 B B2 D/d Объем, м3 Масса, кг
СЦН-50-400х4 4520-6328 400 3170/1830 860 1100 1100 400/200 1,03 501
СЦН-50-500х4 7040-9892 500 4100/2155 1400 1600 1600 550/200 2,64 885
СЦН-50-600х4 10172-14240 600 4600/2480 1400 1600 1600 600/200 2,64 1061
СЦН-50-700х4 13848-19384 700 5550/2810 2000 2100 2100 700/200 5,45 1606
СЦН-50-800х4 18088-25320 800 6050/3130 2000 2100 2100 800/200 5,45 1842
СЦН-50-900х4 22892-32048 900 6375/3455 2000 2400 2400 900/200 7,07 2201
СЦН-50-1000х4 28260-39564 1000 7400/3780 2500 2600 2600 1000/200 9,48 2795
СЦН-50-1200х4 40696-56972 1200 8050/4430 2500 3100 3100 1000/200 13,36 3692

Групповой циклон СЦН-50 (в группе из 6-циклонов) с бункером: технические характеристики

Чертеж - групповой циклон СЦН-50 с бункером

Обозначение Произв-ть, м3 D H/H1 H2 B B2 d Объем, м3 Масса, кг
СЦН-50-500х6 10560-14838 500 4230/2155 1400 1790 1600 200 2,95 1109
СЦН-50-600х6 15258-21360 600 5260/2480 2000 2170 2100 200 5,63 1719
СЦН-50-700х6 20772-29076 700 5690/2810 2000 2520 2300 200 7,11 2107
СЦН-50-800х6 27132-37980 800 6310/3130 2200 2870 2500 200 9,27 2661

Производство циклонов может осуществляться либо по типовой конструкторской документации и чертежам завода, либо по размерам и чертежам Заказчика. При необходимости могут применяться иные материалы (например, нержавеющая сталь) и толщина стенки корпуса.

Доставка продукции осуществляется транспортной компанией во все города и регионы РФ. Стоимость расходов по транспортировке не включены в цену товара, по умолчанию, и оплачиваются Заказчиком дополнительно. Возможна доставка в города стран Таможенного союза ЕАЭС: Казахстан, Киргизия, Армения, Белоруссия.

Для заказа циклона необходимо направить заявку с указанием модели циклона в отдел продаж по координатам на странице КОНТАКТЫ или с помощью заполнения формы ОТПРАВИТЬ ЗАЯВКУ на сайте.