Циклон ОЭКДМ является пылеулавливающим устройством. Данный аппарат имеет также другое наименование – циклон Клайпедского (циклон тип К).
Применение: для очистки воздуха и улавливания пыли на предприятиях деревообрабатывающей промышленности, в системах пневмотранспорта измельченной древесины с содержанием пыли различного рода пыли, например, щепа, дробленка, кора, витая стружка, сырая стружка, сырые опилки.
Циклон ОЭКДМ тип К: описание и принцип работы
Запыленный воздух, попадая через входной патрубок в корпус циклона, закручивается. Под действием центробежной силы пыль (щепа, стружка и пр.) оседает на стенках и опускается в нижнюю часть конуса. Так как накопление древесных отходов в нижней конической части корпуса снижаем эффективность работы циклона, необходимо постоянное удаление скопившейся пыли. Для решения этой задачи применяется бункер (специальная емкость для сбора пыли), который герметично соединяется с корпусом пылеулавливающего аппарата. Бункер приобретается дополнительно. Размер бункера, как правило рассчитывается для беспрерывного суточного накопления пыли и составляет в среднем от 5 до 35 м3.
| Остаточная запыленность воздуха (стружка и опилки) после прохождения циклона | 10-30 мг/м3 |
| Остаточная запыленность воздуха (стружка и опилки) после прохождения циклона | 90-100 мг/м3 |
| Коэффициент местного сопротивления | 5 |
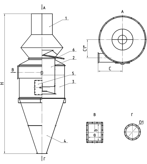
Конструкция и чертеж циклона ОЭКДМ Клайпедского
Строение циклона и его конфигурация обусловлены серией 7.411-2. Рассмотрим основные конструктивные особенности и элементы на чертеже. Данный циклон имеет усовершенствованную конструкцию, по сравнению с другими типами пылеулавливающих аппаратов. Благодаря строению циклон ОЭКДМ обладает высокой эффективностью очистки.
Конструкция аппарата состоит из нескольких конических частей, соединенных друг с другом в единый корпус, входного патрубка, выходящего патрубка (выхлопной трубы), сливного патрубка. В корпусе имеется специальный сливной патрубок, который позволяет удалять из полости циклона избыточную влагу, в том числе ту, которая может образовываться в следствии попадания в выхлопную трубу атмосферных осадков. По исполнению, циклоны могут изготавливаться левого и правого вращения.
На чертеже обозначены следующие элементы: 1 – выхлопная труба (выходящий патрубок), 2 – внутренний стакан, 3 – корпус циклона, 4 – конус циклона, 5 -люк, 6 – сливной патрубок.
Технические характеристики и габаритные размеры циклонов ОЭКДМ
| Обозначение | Производительность по воздуху м3/ч | Диаметр, мм | Высота, мм | Масса, кг |
| Циклон ОЭКДМ 8 | 1900-2300 | 800 | 2450 | 76 |
| ОЭКДМ 10 | 2700-3300 | 1000 | 3115 | 170 |
| Циклон ОЭКДМ 12 | 3860-4730 | 1200 | 3780 | 263 |
| ОЭКДМ 14 | 5520-6750 | 1400 | 4315 | 363 |
| Циклон ОЭКДМ 16 | 6200-8000 | 1600 | 4915 | 473 |
| ОЭКДМ 18 | 8000-10500 | 1800 | 5565 | 629 |
| Циклон ОЭКДМ 20 | 9800-12900 | 2000 | 6150 | 1060 |
| ОЭКДМ 22 | 11600-15200 | 2200 | 6505 | 1280 |
| Циклон ОЭКДМ 24 | 14100-18550 | 2400 | 7295 | 1350 |
| ОЭКДМ 30 | 22150-28500 | 3000 | 9160 | 1650 |
В целях расшифровки маркировки циклона ОЭКДМ, рассмотрим пример условного обозначения: Циклон ОЭКДМ К 8, где К – условное обозначение циклона типа Клайпедского ОЭКДМ, 8 – номер циклона – число, обозначающее диаметр корпуса циклона.
Материальное исполнение – листовая сталь марки ст.3. Толщина стенки – 3 мм. В зависимости от требований Заказчика возможно применение иных марок стали (09Г2С, нержавеющая сталь), иной толщины стенки.
В дополнение к циклону ЗТО Свердловский можем изготовить бункер для сбора пыли, постамент, воздуховоды различного диаметра и сечения, а также пылевыгружные устройства (затвор мигалка). Дополнительное оборудование рассчитывается по запросу, исходя из размеров и конструкции изделия.
Как оформить заказ на пылеуловитель?
Если у Вас возникла потребность купить циклон ОЭКДМ или другую продукцию нашего предприятия – предлагаем направить заявку для расчета стоимости в отдел продаж. Координаты отдела продаж размещены на странице КОНТАКТЫ. Также для ускорения обработки запроса предлагаем воспользоваться специальной формой – ОТПРАВИТЬ ЗАЯВКУ на сайте.
После расчета, в ответ на Ваш запрос будет направлено ценовое предложение с указанием актуальной стоимости оборудования и срок его изготовления.
Доставка осуществляется во все регионы РФ и страны Таможенного союза (Армения, Белоруссия, Казахстан, Киргизия) транспортными компаниями. Стоимость транспортных расходов рассчитывается и оплачивается дополнительно, по запросу. Всю дополнительную информацию уточняйте у менеджеров отдела продаж.