Циклон ЦОК представляет собой разновидность циклонов с обратным конусом для очистки вентиляционных выбросов. Выпуск циклонов ЦОК регламентируется серией 5.904-30.
Применение: для очистки воздуха и вентиляционных выбросов на предприятиях по изготовлению и обработке металлов, иных производственных предприятиях. Способен улавливать различные типы пыли, в том числе абразивной и слипающейся пыли (сажа, тальк).
Циклон ЦОК серия 5.904-30: описание и принцип работы
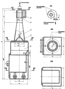
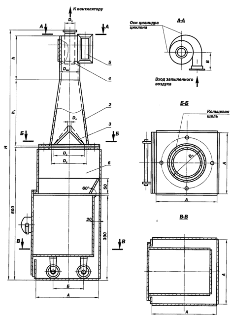
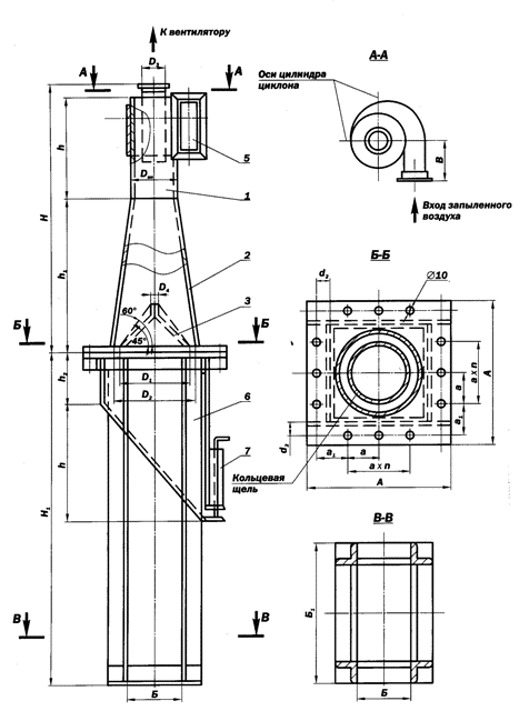
Принцип работы данного циклона основан на действии центробежной силы. Загрязненный воздух попадает в циклон и раскручивается, благодаря конструкции корпуса. Пыль под действием центробежной силы отделяется от воздушно-газовой смеси и опускается по стенкам в нижнюю часть циклона, откуда через кольцевую щель попадает в бункер или пылесборник с выдвижным ящиком (зависит от исполнения). Очищенный воздух поднимается вверх и выводится через выхлопную трубу.
Циклон следует устанавливать перед вентилятором, так как это обеспечивает защиту вентилятора от лишнего износа.
| Климатическое исполнение по ГОСТ 15150-69 | УХЛ категория размещения 1 и 4 |
| Категория взрывоопасной и пожарной опасности по СНИП 2.09.02-85 | Д |
Конструкция и основные разновидности
Конструкция циклона ЦОК представлена следующими основными: корпус с внутренним конусом, входной патрубок, выхлопной патрубок, пылесборник. Пылесборник может выполняться в виде бункера для сбора пыли или выдвижного ящика. Корпус выполняется в виде обратного конуса, который расширяется снизу и имеет соединение с пылесборником. Циклон ЦОК может выпускаться также для установки на кронштейне, тогда бункер для сбора пыли изготавливается конической формы и комплектуется затвором “мигалкой” (пылевыгружное устройство).
Рис.1 |
Рис.2 |
Рис.3 |
ЗТО Свердловский изготавливает циклоны ЦОК в трех исполнениях: с бункером для сбора пыли (рис.1), на кронштейне с конусным бункером (рис.2), с выдвижным ящиком (рис.3). Возможно изготовление по чертежам и размерам Заказчика.
Основные технические характеристики и размеры циклонов ЦОК
| Обозначение | Внутренний диаметр циклона, мм | Пропускная способность по воздуху, м3/ч от скорости во входном патрубке, м/с, 14/15/16 | Масса с бункером | Масса с выдвижным ящиком | ||
| Циклон ЦОК-1 | 100 | 130/140/150 | 17,46 | 20,57 | ||
| ЦОК-2 | 150 | 290/302/314 | 30,55 | 35,39 | ||
| Циклон ЦОК-З | 200 | 525/563/600 | 46,70 | 54,19 | ||
| ЦОК-4 | 250 | 880/800/920 | 84,75 | 73,24 | ||
| Циклон ЦОК-5 | 300 | 1170/1250/1330 | 124,58 | 97,06 | ||
| ЦОК-6 | 370 | 1790/1895/2000 | 169,42 | 135,9 | ||
| Циклон ЦОК-7 | 465 | 2620/2810/3000 | 230,61 | 191,58 | ||
| ЦОК-8 | 525 | 3500/3750/4000 | 438,69 | 244,84 | ||
| Циклон ЦОК-9 | 585 | 4375/4687/5000 | 528,45 | 296,14 | ||
| ЦОК-10 | 645 | 5250/5625/6000 | 588,74 | 351,94 | ||
| Циклон ЦОК-11 | 695 | 6130/6585/7000 | 654,10 | 401,62 | ||
Материальное исполнение – сталь марки ст.3 (углеродистая сталь). Толщина стенки – 3мм. В зависимости от потребностей Заказчика, возможно изготовление циклона из иной марки стали, например 09Г2С или нержавеющая сталь 12Х18Н10Т, а также с иной толщиной стенки металла.
Качество аспирационного и пылеулавливающего оборудования подтверждено декларацией о соответствии Таможенного союза ТР ТС 010/2011 “О безопасности машин и оборудования”. С документами о качестве Вы можете ознакомиться на странице ДОКУМЕНТАЦИЯ.
Как узнать цену и купить циклон ЦОК?
Все циклоны и пылеуловители изготавливаются под заказ. Если Вас интересует стоимость конкретного циклона, необходимо направить запрос на расчет стоимости в отдел продаж нашего предприятия. Координаты отдела продаж размещены на странице КОНТАКТЫ.
Вы также можете воспользоваться специальной формой – ОТПРАВИТЬ ЗАЯВКУ на сайте.
К запросу необходимо приложить информацию о запрашиваемом оборудовании (обозначение или описание), а также Вашей реквизиты организации. После обработки запроса в ответ будет направлено ценовое предложение с указанием актуальной стоимости и срок изготовления.
Мы доставляем продукцию во все регионы РФ и страны Таможенного союза ЕАЭС (Казахстан, Киргизия, Армения, Белоруссия) транспортными компаниями. Стоимость транспортных расходов оплачивается Заказчиком дополнительно.


